புதிதாக வெளியிட்ட காப்புரிமை அறிவிப்பில், “ ஆப்பிளின் ஓட்டுநர் இல்லாத ஆட்டோ பைலட் கார் சன்னல்களுக்கு மாறாக விர்சுவல் ரியாலிடியுடன் வரும்.” எனக் கூறப்பட்டிருக்கிறது.

எப்படி ஆப்பிள் நிறுவனத்துக்கு விணண்டோஸ் பிடிக்காது என்பது நாம் அறிந்ததே. அதற்காக தங்களது காரில் கூட விண்டோஸ் இல்லாமல் தயாரிப்பார்கள் என்பது நாம் எதிர்பார்க்காதது. ஆம், ஆப்பிள் தயாரிக்க இருக்கும் புதிய காரில் ஜன்னல்களே இருக்காதாம். அதற்குப் பதிலாக விர்சுவல் ரியாலிடியால் காரின் உள்பக்கம் அமைக்கப்படும் என்று கூறப்பட்டிருக்கிறது.
சன்னல்கள் இல்லாததால் இதில் பயணிக்கும் பயணிகள் வெளியுலகத்தைப் பார்க்க முடியாது. அதற்காக இந்த வாகனம் ஆட்டோ பைலட் முறையில் செயல்படும் வாகனமாக உருவாகியுள்ளது. ஏற்கெனவே எலான் மஸ்கின் டெஸ்லா நிறுவனம் ஆட்டோ பைலட் கார்களை உருவாக்கி வருவது குறிப்பிடத்தக்கது. சரி, ஆப்பிளின் VR (Virtual reality) விவகாரத்துக்குள் வருவோம்.
புதிதாக வெளியிட்ட காப்புரிமை அறிவிப்பில், “ ஆப்பிளின் ஓட்டுநர் இல்லாத ஆட்டோ பைலட் கார் சன்னல்களுக்கு மாறாக விர்சுவல் ரியாலிடியுடன் வரும்.” எனக் கூறப்பட்டிருக்கிறது. இந்த அறிவிப்புடன் ஆப்பிள் காரின் மாதிரி ஒன்றும் சமூக வலைத்தளங்களில் பரவிவருகிறது. அதில் ஆப்பிள் மௌஸ் பொன்ற கார் ஒன்று இருக்கிறது.

எப்படி வேலை செய்யும்?
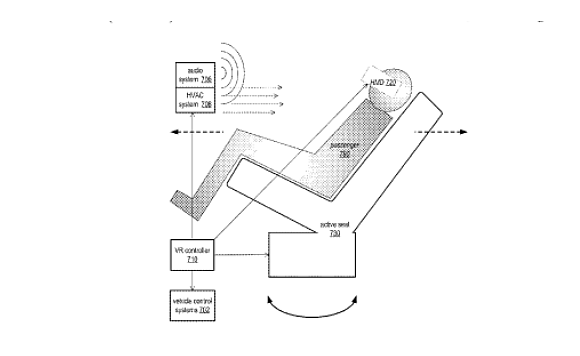
ஏசி காரில் சன்னல்கள் எப்போதும் வெளியில் வேடிக்கை பார்க்க மட்டுமே பயன்படுகிறது. ஆனால் நமக்கு எப்போது அழகான இயற்கைக் காட்சிகள் காணக் கிடைப்பதில்லை. இந்த குறையைப் போக்கும் வண்ணம் இயற்கைக் காட்சிகளோ, ரோலர்கோஸ்டர் ரைட் செல்வது போன்ற வீடியோக்களோ நமக்கு அப்பிள் காரின் உள்ளே கிடைக்கும்.
படம் பார்ப்பது, வீடியோ கால் பேசுவது எனப் பலவற்றையும் கார்டில் விர்சுவல் ரியாலிட்டி மூலம் நேரிலிருந்து பேசுவது போலச் செய்ய முடியும் என கூறப்படுகிறது.
அத்துடன் பயனர்களுக்குச் சிறந்த அனுபவத்தை வழங்குவதற்காக காரின் வேகம், பிரேக் ஆகியவற்றுக்கு ஏற்றது போல மாறும் படங்கள் இருக்கும் எனவும் கூறுகின்றனர். இதற்காக 4DX சினிமா தொழில்நுட்பத்தை ஆப்பிள் பயன்படுத்தும் எனத் தெரிவிக்கப்பட்டிருக்கிறது. இதனால் மோஷன் சிக்னஸ் பிரச்னையும் இருக்காது எனக் கூறப்படுகிறது.
பொதுவாக விர்சுவல் ரியாலிட்டியை பயன்படுத்தக் கண்ணுக்கு அருகில் ஒரு முகமூடியை அணிய வேண்டும். ஆப்பிள் காரில் அது தேவையில்லை. இந்த கார் எப்போது வெளியிடப்படும் என அறிவிப்புகள் வெளியாகவில்லை. இதனை வாங்கி பயன்படுத்துபவர்கள் கார் பயணத்தின் போது ஜாம்பிகளால் துரத்தப்படுவதையோ, ஆப்ரிக்கக் காடுகளில் உலாவுவதையோ அனுபவிக்கலாம்.
Comments
Post a Comment